Things get hot if you use them for a long time continuously, and when it comes to AR/VR headsets this problem gets much bigger as we wore them on our heads. Maybe that’s why Apple is looking into ways to make its upcoming “Apple Glass,” or other Apple AR headsets, more comfortable and free of any heat-related problems.
As first spotted by AppleInsider, a new patent suggests air conditioning technology as one of the possible ways that Apple, may use to keep the user comfortable. Though Apple won’t actually be building an air conditioner into its AR/VR headset itself, obviously. Upcoming “Apple Glass,” or other Apple AR/VR headsets, might use air deflectors to regulate heat away from a wearer’s head.
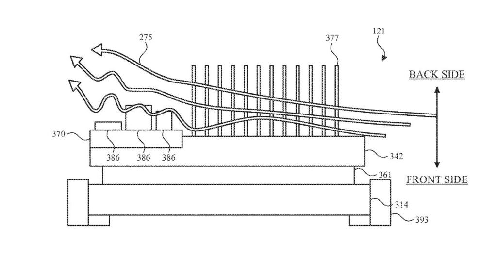
Here’s the description of patent titled “Air Deflector for Cooling System in a Head-Mounted Device”:
“Head-mounted devices are an attractive technology for providing an immersive user experience,” says the patent application. As with other electronic devices, head-mounted devices can employ a cooling system based on the circulation of air to maintain electronic components at desirable operating temperatures. The cooling system can also be used to cool the user’s face from heat build-up inside the head-mounted device.”
It might sound simple but when it comes to making such a thing one might face many problems some of which Apple has also listed in the patent –
- Efficient operation without unduly detracting from the user experience.
- The shape of the head-mounted device or layout of internal components can lead to a tortuous flow path for the cooling system. The proximity of the airflow path to the user’s head can create undesired effects that detract from the user experience.
- Some head-mounted devices may employ movable components that can interrupt the airflow path, such as adjustable optics. This adjustability can in turn make it difficult to design a cooling system in a given device that is suitable for different users.
Apart from this, we also get a rough idea of what Apple really wanna do i.e. get rid of heat problems from Apple AR/VR headsets by adding air deflectors as typically found in air conditioning systems instead of using thermal cooling practices in computers.
As this happens to be a patent, so it’s hard to say if Apple will actually utilize this technology or if they’re simply thinking about it. Until now, Apple hasn’t mentioned anything about creating headsets, although there are rumors that the AR/VR headset could launch either later this year or next year while it might cost as much as $3,000.


